HikVision DS-8616NI-K8 16 канальный IP-видеорегистратор

Артикул: 28696
HikVision DS-8616NI-K8 фото
Просмотров (8168)

Производитель

Аудио входы/выходы

1

Гибридный режим работы (HVR)

нет

Формат сигнала

IP

Максимальное разрешение (IP)

8 Мп

Кол-во встраиваемых HDD дисков

8

Наличие портов с PoE

нет

Количество каналов (IP)

16

Видеовыходы

HDMI, VGA

Место установки

помещение
Все характеристикиСкрыть все характеристики
Монтаж от 7 500  
Подробнее
Все файлыСкрыть все файлы
Товар недоступен
Смотреть аналоги

HikVision DS-8616NI-K8 16-ти канальный IP-видеорегистратор. Видеовход: 16 каналов; аудиовход: двустороннее аудио 1 канал RCA; видеовыход: 1 VGA до 1080Р, 1 VGA до 2K, 1 HDMI до 4К, 1 HDMI до 1080P; аудиовыход: 1 канал RCA. Входящий поток 160Мб/с; исходящий поток 160Мб/с; разрешение записи до 8Мп; синхр.воспр. 2 канала@8Мп; 8 SATA для HDD до 8Тб; 1 eSATA, RAID 0, 1, 5, 6, 10; тревожные вход/выход 16/4; 2 RJ45 10M/100M/1000М Ethernet; 3 USB; RS-485, RS-232, -10°C...+55°C; AC100-240В; 30Вт макс (без HDD), 8кг (без HDD).

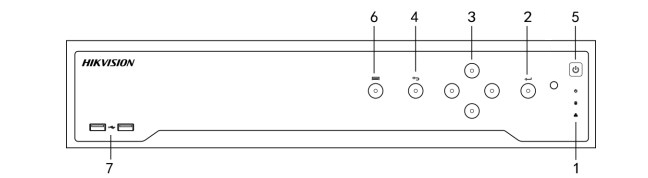
Интерфейсы передней панели видеорегистратора:

  1. Индикаторы состояния: POWER («Питание») - Индикатор зелёный, когда NVR включён. HDD - Индикатор мигает красным, когда данные считываются или записываются на HDD. Tx/Rx - Индикатор мигает зелёным, когда сетевое соединение функционирует нормально;
  2. Кнопка ENTER используется для подтверждения выбора в режиме меню; или используется для проставления флажков в поля и переключения значений «ВКЛ./ВЫКЛ.». В режиме воспроизведения кнопка используется для начала и приостановки воспроизведения. В режиме покадрового воспроизведения кнопка будет переключать кадры. В режиме автопереключения кнопка будет запускать/останавливать автопереключение;
  3. Кнопки направлений (стрелки). В режиме меню, кнопки направлений используются для навигации между различными полями и элементами, и для выбора параметров. В режиме воспроизведения кнопки «Вверх» и «Вниз» используются для увеличения и снижения скорости воспроизведения, и кнопки «Влево» и «Вправо» используются для перемещения записи на 30сек вперёд или назад. В меню настройки изображения кнопки «Вверх» и «Вниз» используются для настройки значений в полях параметров изображения. В режиме просмотра в реальном времени эти кнопки используются для переключения между каналами;
  4. Назад - к предыдущему меню;
  5. POWER ON/OFF («Питание вкл/выкл») - Кнопка включения/выключения;
  6. МЕНЮ - Доступ к главному меню.;
  7. USB интерфейс - для подключения дополнительных устройств, таких как USB мышь и USB жёсткий диск (HDD).

Интерфейсы задней панели видеорегистратора:

  1. LAN1/LAN2;
  2. Линейный вход;
  3. Аудиовыход;
  4. Аудиовход;
  5. HDMI1/HDMI2;
  6. VGA1/VGA2;
  7. USB 3.0;
  8. RS-232;
  9. eSATA;
  10. Тревожные вход/выход;
  11. Источник питания;
  12. Вкл/Выкл;
  13. Заземление.

Для заказа также доступен видеорегистратор HikVision DS-7616NI-K2/16P с 16 PoE-интерфейсами.

Вас могут заинтересовать: 16-ти канальные видеорегистраторы.

Купить HikVision DS-8616NI-K8 в интернет-магазине СЕК-ГРУПП в Москве: Черницынский проезд, д.3, стр.1 (метро Щелковская). Доставка по России.

Особенности HikVision DS-8616NI-K8

👍Аудио входы/выходы1
👍Гибридный режим работы (HVR)нет
👍Формат сигналаIP
👍Максимальное разрешение (IP)8 Мп
👍Кол-во встраиваемых HDD дисков8
👍Наличие портов с PoEнет
👍Количество каналов (IP)16
👍ВидеовыходыHDMI, VGA
👍Место установкипомещение
👍Поддержка Wi-Fiнет
👍Максимальный объем HDD (Тб.)8
👍Дополнительные интерфейсыRS-232, RS-485
👍Страна производительКитай
Гарантия 1 год
Сертификат HikVisionМы официальный дилер HikVision
Наш рейтинг и отзывы на Яндекс Маркете

Формат видеосжатия

H.265/H.265+/H.264/H.264+/MPEG4

IP камеры

16 каналов

Двусторонний аудиовход

1 канал, RCA (2.0 Vp-p, 1kx)

Входящая пропускная способность

160 Мбит/с

Исходящая пропускная способность

160 Мбит/с

Видеовыход

2 HDMI, 2 VGA (независимые)

Разрешение вывода

HDMI1:
4K (3840 x 2160)/30Гц, 2K (2560 x 1440)/60Гц, 1920 x 1080/60Гц, 1600 x 1200/60Гц, 1280 x 1024/60Гц, 1280 x 720/60Гц, 1024 x 768/60Гц
VGA1: 2K (2560 x 1440)/60Гц, 1920 x 1080/60Гц, 1600 x 1200/60Гц, 1280 x 1024/60Гц, 1280 x 720/60Гц, 1024 x 768/60Гц
HDMI2/VGA2:
1920 x 1080/60Гц, 1280 x 1024/60Гц, 1280 x 720/60Гц, 1024 x 768/60Гц

Аудиовыход

1 канал, RCA (Линейный, 1 Kx)

Количество потоков

2

Основной поток

8Мп/ 6Мп/ 5Мп/ 4Мп/ 3Мп/ 1080p/ UXGA/ 720p/ VGA/ 4CIF/DCIF/ 2CIF/ CIF/ QCIF

Дополнительный поток

В соответствии с подкл. видеокамерой

Тип потока

Видео, видео и аудио

Битрейт видео

32 кбит/с — 16 Мбит/с

Битрейт аудио

В соответствии с подкл. видеокамерой

Синхронное воспроизведение

2 канала @ 8 Мп (25 к/с) / 4 канала @ 4Мп (25 к/с) / 8 каналов @ 1080p (25 к/с), макс. 16 каналов видео

Нулевой канал

Поддерживается

ANR

Поддерживается

Локальный Smart поиск

Поддерживается

Smart функции видеокамер

Поддерживается

Удаленные соединения

128

Протоколы

TCP/IP, DHCP, HIK Cloud P2P, DNS, DDNS, NTP, SADP, SMTP, NFS, iSCSI, UPnP™, HTTPS

SATA

8 SATA

eSATA

1 eSATA

Объем

до 8 Тб каждый

Сетевой интерфейсы

2 RJ-45 10/100/1000 Мбит/с

USB-интерфейс

Передняя панель: 2 x USB 2.0;
Задняя панель: 1 x USB 3.0

Последовательный интерфейс

1 RS-485 (полудуплекс), 1 RS-232, 1 клавиатурный (опционально)

Тревожные вход/выход

16/4

Питание

AC 100 ~ 240В

Потребляемая мощность (без HDD)

30Вт

Рабочие условия

-10°C...+55°C, влажность 10% ~ 90%

Размеры

445 x 400 x 90 мм

Вес

8кг (без HDD)
Наименование
Цена
Кол-во
Всего
Монтаж оборудования
Рейтинг товара
Отзывов (0)
Оставьте свой отзыв
Имя:
Электронная почта:
Ваша оценка:
Плюсы:
Минусы:
Заголовок:
Отзыв о товаре:
Варианты доставки
Доставка курьером СЕК-ГРУПП

До ТК (СДЭК, ПЭК, Деловые Линии) - 0 Р

Остальные транспортные компании - 1000 Р

Заказы от 60 000 Р (по ценам сайта) - 0 Р

В пределах МКАД заказы стоимость > 5 000 руб. и < 2 кг - 750 руб., > 2 кг составляет 1000 руб.

Негабарит МКАД - 1300 Р (более 5 метров - 2000 Р)

За МКАД - 1000 Р + 90Р/км

Негабарит за МКАД - 1300Р + 110Р/км (более 5 метров - 2000 Р + 110Р/км)

Самовывоз

г. Москва, Черницынский пр-д, д. 3 стр. 1. метро Щелковская

г. Уфа, ул. Трамвайная, д. 2 оф. 1-02

        Мы правильно определили ваш город?

        Безналичный расчет

        Оплата осуществляется путем банковского перевода денежных средств с расчетного счета покупателя на наш расчетный счет.

        Счет выставляется по запросу в печатном или электронном виде. Счет действителен в течении 3-х банковских дней за исключением оборудования производства компании PERCo.

        Оплата наличными в офисах компании 

        Оплата наличными производится в офисах компании при получении товара со склада по адресам:

        • г. Москва, Черницынский проезд, д.3, стр.3 
        • г. Уфа, Трамвайная улица, д.2, офис 1-02
        Оплата наличными при доставке (Москва)

        Стоимость заказа передаётся водителю компании при получении товара.

        Собрать выгодный комплект
        Наименование
        Цена
        Кол-во
        Всего
        Комплектующие
        6  d
        6  d
        Официальный партнер
        Скидки оптовикам
        Доставка по России
        Установка, Монтаж, Обслуживание
        Гарантийное обслуживание
        Ближайшие аналоги
        i-FLOW F-NR-216X/4
        53 090