Чтобы запросить цену ниже, укажите номер телефона и e-mail.
Все остальные данные Вы сможете сообщить менеджеру.
HikVision DS-2CD2423G0-I 2.8mm 2 Мп миниатюрная IP видеокамера наблюдения с подсветкой до 10м, c PoE
Производитель
Тип объектива
Формат сигнала
Разрешение
Место установки
Тип камеры
Фокусное расстояние объектива
Дальность действия подсветки
Поддержка аудио
Поддержка Wi-Fi
Компактная корпусная IP-камера HikVision DS-2CD2423G0-I 2.8mm 2Мп с EXIR-подсветкой до 10м. Оснащена 1/2.8" Progressive Scan CMOS, объективом 2.8мм с углом обзора 103°. Имеет механический ИК-фильтр 0.01лк@F1.2. Сжатие данных выполняется кодеками H.265/H.265+/H.264/H.264+/MJPEG. Камера HikVision DS-2CD2423G0-I поддерживает тройной поток 1920х1080@25к/с, WDR 120дБ, 3D DNR, BLC, ROI. Функции видеоаналитики - обнаружение движения, вторжения в область и пересечения линии. Имеет слот для microSD до 128Гб, встроенные микрофон и динамик, тревожные вход/выход 1/1, PIR-датчик, 1 RJ45 10M/100M Ethernet. Питание DC12В± 10%/PoE(802.3af) 5Вт макс.
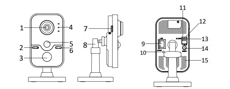
Описание внешнего вида видеокамеры HikVision DS-2CD2423G0-I:

- Объектив;
- Микрофон;
- ИК-подсветка;
- Индикатор - тревога (alarm): постоянно горит красным при срабатывании тревоги; горит синим, если нет тревог. Статус (status): горит синим, если камера добавлена в Hik-Connect. Соединение (link): мигает желтым при подключении к сети; не горит, когда сеть отключена;
- Датчик PIR;
- Световой сенсор;
- Слот для карты microSD;
- 3-х осевой кронштейн;
- 10M / 100M Ethernet интерфейс и PoE;
- WPS (Защищенная настройка Wi-Fi)/Кнопка сброса;
- Тревожный вход;
- Заземление;
- Тревожный выход;
- Интерфейс питания (12В постоянного тока);
- Динамики микрофона.
Установка компактной камеры на горизонтальную поверхность:
- Достаньте кронштейн из упаковки;
- Совместите корпус камеры с кронштейном, и поверните корпус камеры для закрепления;
- Установите камеру на плоскую поверхность.


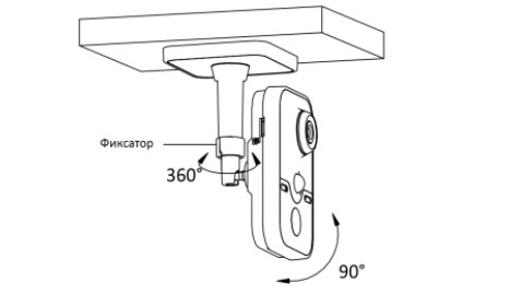
Потолочная установка камеры:
- Просверлите отверстия для винтов в соответствии с шаблоном крепления;
- Разберите 3-х осевой кронштейн. Удерживая основание одной рукой, поверните ножку кронштейна против часовой стрелки;
- Закрепите подставку на потолке с помощью прилагаемых винтов;
- Установите базу для монтажа на подставку;
- Установите камеру на кронштейн;
- Настройте угла наблюдения - ослабьте фиксатор для регулировки угла поворота в диапазоне от 0° до 360°, отрегулируйте угол наклона в диапазоне от 0° до 90°, после настройки нужного положения камеры затяните фиксатор.





Вас могут заинтересовать: миниатюрные камеры внутренние камеры IP камеры.
Купить HikVision DS-2CD2423G0-I (2.8mm) в интернет-магазине СЕК-ГРУПП в Москве: Черницынский проезд, д.3, стр.1 (метро Щелковская). Доставка по России.

1920 px

1080 px

2 Мп
103°

идентификация
до 3,1 м

распознание
до 6,2 м

обнаружение
до 31 м




* информация носит справочный характер
Матрица
Скорость электронного затвора
Ч/Б: 0.028лк@(F2.0,AGC вкл.), 0лк с ИК
Электронный затвор
Объектив
Крепление объектива
Угол обзора
Режим «день/ночь»
Регулировка угла установки
Видеосжатие
Дополнительный поток: H.265/H.264/MJPEG
Третий поток: H.265/H.264
Профиль H.264
Профиль H.265
Битрейт видео
Аудиосжатие
Битрейт аудио
Максимальное разрешение
Основной поток
Дополнительный поток
Третий поток
SVC
Настройки изображения
Улучшение изображения
Переключение «день/ночь»
Детекция движения
Антисаботаж
Сетевое хранение
Протоколы
Безопасность
Совместимость
Срабатывание тревоги
Действия по тревоге
Стандарт Wi-Fi
Диапазон частот
Ширина канала
Протоколы
Безопасность
Мощность передатчика
Чувствительность приемника
Скорость передачи данных
Радиус приема
Сетевой интерфейс
Аудиовход
Аудиовыход
Фильтрация шумов окружающей среды
Частота дискретизации
Тревожные интерфейсы
Локальное хранилище
Кнопка сброса настроек
Питание
Потребляемая мощность
Рабочие условия
PIR-датчик
Дальность действия ИК-подсветки
Материал корпуса
Размеры
Вес (нетто)
До ТК (СДЭК, ПЭК, Деловые Линии) - 0 Р
Остальные транспортные компании - 1000 Р
Заказы от 60 000 Р (по ценам сайта) - 0 Р
В пределах МКАД заказы стоимость > 5 000 руб. и < 2 кг - 750 руб., > 2 кг составляет 1000 руб.
Негабарит МКАД - 1300 Р (более 5 метров - 2000 Р)
За МКАД - 1000 Р + 90Р/км
Негабарит за МКАД - 1300Р + 110Р/км (более 5 метров - 2000 Р + 110Р/км)
г. Москва, Черницынский пр-д, д. 3 стр. 1. метро Щелковская
г. Уфа, ул. Трамвайная, д. 2 оф. 1-02
Мы правильно определили ваш город?
Оплата осуществляется путем банковского перевода денежных средств с расчетного счета покупателя на наш расчетный счет.
Счет выставляется по запросу в печатном или электронном виде. Счет действителен в течении 3-х банковских дней за исключением оборудования производства компании PERCo.
Оплата наличными производится в офисах компании при получении товара со склада по адресам:
- г. Москва, Черницынский проезд, д.3, стр.3
- г. Уфа, Трамвайная улица, д.2, офис 1-02
Стоимость заказа передаётся водителю компании при получении товара.

















