PERCo-TBC01.1A тумбовый турникет трипод с картоприемником

Артикул: 16659
PERCo-TBC01.1A фотоPERCo-TBC01.1A фотоPERCo-TBC01.1A фотоPERCo-TBC01.1A фотоPERCo-TBC01.1A фото
Просмотров (6386)
PERCo-TBC01.1A
PERCo-TBC01.1A
PERCo-TBC01.1A
PERCo-TBC01.1A
PERCo-TBC01.1A

Производитель

Количество считывателей

2

Количество зон прохода

однопроходной

Встроенный картоприемник

да

Ширина зоны прохода

560

Стандарт интерфейса связи

отсутствует

Место установки

помещение

Тип турникета

тумбовый

Стандарт идентификаторов

HID, em-marine

Автоматические планки

да
Все характеристикиСкрыть все характеристики
Монтаж от 15 600  
Подробнее
Все файлыСкрыть все файлы
Товар недоступен
Смотреть аналоги

PERCo-TBC01.1A тумбовый турникет-трипод с автоматическими преграждающими планками Антипаника. Турникет оснащен двумя встроенными считывателями с поддержкой интерфейса связи Wiegand и картоприемником для бесконтактных карт доступа форматов EMM и HID.

Управление турникетом осуществляется автономно от дистанционного пульта или автоматически от контроллера по сети, в режиме, выставленном используемой СКУД. В стойку турникета TBC01.1A встроен замок механической разблокировки для открытия с помощью ключа и обеспечения свободного поворота преграждающих планок. При установке нескольких турникетов в ряд, формируюется зона прохода, что позволяет не монтировать дополнительных ограждений.

Турникет PERCo поддерживает подключение дополнительных устройств радиоуправления и источника питания. Корпус выполнен из нержавеющей стали с классом защиты IP41.

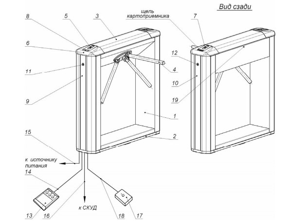
Конструкция турникета TBC 01.1 A:

perco-tbc011a

  1. Каркас;
  2. Основание;
  3. Крышка (позиции 1-3 образуют стойку турникета);
  4. Планка преграждающая;
  5. Блок индикации;
  6. Крышка торцовая со считывателем;
  7. Крышка торцовая со считывателем;
  8. Заглушка крышки;
  9. Заглушка стойки;
  10. Контейнер картоприемника;
  11. Замок заглушки;
  12. Замок контейнера;
  13. ПДУ;
  14. Кабель ПДУ;
  15. Кабель питания;
  16. Кабель подключения к СКУД;
  17. Устройство Fire Alarm;
  18. Кабель устройства Fire Alarm;
  19. Установочный винт, фиксирующий крышку.

Купить PERCo-TBC01.1A в интернет-магазине СЕК-ГРУПП в Москве: Черницынский проезд, д.3, стр.1 (метро Щелковская). Доставка по России.

Особенности PERCo-TBC01.1A

👍Количество считывателей2
👍Количество зон проходаоднопроходной
👍Встроенный картоприемникда
👍Ширина зоны прохода560
👍Стандарт интерфейса связиотсутствует
👍Место установкипомещение
👍Тип турникетатумбовый
👍Стандарт идентификаторовHID, em-marine
👍Автоматические планкида
👍Встроенный контроллернет
Гарантия 5 лет
Сертификат PERCoМы официальный дилер PERCo
Наш рейтинг и отзывы на Яндекс Маркете

Напряжение питания

12В постоянного тока

Мощность

не более 72Вт

Ток потребления

не более 6.0 А

Количество направлений прохода

2

Пропускная способность в режиме однократного прохода

30 чел./мин

Пропускная способность в режиме свободного прохода

60 чел./мин

Габаритные размеры (длина Х ширина Х высота)

750х1170х1030 мм

Ширина зоны прохода

560 мм

Рабочий температурный диапазон

от +1°C до +50°C

Степень защиты оболочки IP

IP41

Планки антипаника

автоматическая

Интерфейс связи

Wiegand

Количество считывателей

2

Количество картоприемников

1

Дальность считывания

8 см

Дальность считывания

6 см

Емкость картоприемника

350 карт

Средняя наработка на отказ

не менее 4 000 000 проходов
Наименование
Цена
Кол-во
Всего
Монтаж оборудования
Рейтинг товара
Отзывов (0)
Оставьте свой отзыв
Имя:
Электронная почта:
Ваша оценка:
Плюсы:
Минусы:
Заголовок:
Отзыв о товаре:
Варианты доставки
Доставка курьером СЕК-ГРУПП

До ТК (СДЭК, ПЭК, Деловые Линии) - 0 Р

Остальные транспортные компании - 1000 Р

Заказы от 60 000 Р (по ценам сайта) - 0 Р

В пределах МКАД заказы стоимость > 5 000 руб. и < 2 кг - 750 руб., > 2 кг составляет 1000 руб.

Негабарит МКАД - 1300 Р (более 5 метров - 2000 Р)

За МКАД - 1000 Р + 90Р/км

Негабарит за МКАД - 1300Р + 110Р/км (более 5 метров - 2000 Р + 110Р/км)

Самовывоз

г. Москва, Черницынский пр-д, д. 3 стр. 1. метро Щелковская

г. Уфа, ул. Трамвайная, д. 2 оф. 1-02

        Мы правильно определили ваш город?

        Безналичный расчет

        Оплата осуществляется путем банковского перевода денежных средств с расчетного счета покупателя на наш расчетный счет.

        Счет выставляется по запросу в печатном или электронном виде. Счет действителен в течении 3-х банковских дней за исключением оборудования производства компании PERCo.

        Оплата наличными в офисах компании 

        Оплата наличными производится в офисах компании при получении товара со склада по адресам:

        • г. Москва, Черницынский проезд, д.3, стр.3 
        • г. Уфа, Трамвайная улица, д.2, офис 1-02
        Оплата наличными при доставке (Москва)

        Стоимость заказа передаётся водителю компании при получении товара.

        Собрать выгодный комплект
        Наименование
        Цена
        Кол-во
        Всего
        Идентификаторы
        17  d
        17  d
        Бесперебойное питание и аккумуляторы
        Крепеж
        532  d
        532  d
        Кабельная продукция
        Официальный партнер
        Скидки оптовикам
        Доставка по России
        Установка, Монтаж, Обслуживание
        Гарантийное обслуживание
        Ближайшие аналоги
        CARDDEX STR-03C
        128 170  
        Praktika T-02
        207 507  
        Smartec ST-TS200
        108 000  
        PERCo-TTD-03.1G
        188 014  
        PERCo-TTD-03.2S
        275 951  
        PERCo-TTD-08A
        368 835  
        PERCo-TTD-03.2G
        217 602