Чтобы запросить цену ниже, укажите номер телефона и e-mail.
All other data you can tell the manager.
Производитель
Тип устройства

PERCo-IC05 картоприемник для карт (без считывателя). Емкость 350 карт; напряжение питания 12В постоянного тока; рабочий температурный диапазон от +1°C до +40°C; степень защиты оболочки IP41.
Картоприемник PERCo-IC05 предназначен для работы в составе СКУД в качестве устройства чтения и изъятия карт доступа, выдаваемых посетителям и подлежащих возврату при выходе с территории предприятия (далее – разовые карты посетителей) через проходную, оборудованную ИУ. Он позволяет изымать карты вместе со стандартными клипсами для бейджей.
Картоприемник должен работать в комплексе с бесконтактным считывателем карт, контроллером СКУД и преграждающим устройством (ИУ: турникетом, калиткой, замком двери и т.д.). Считыватель карт устанавливается внутри картоприемника;выбор, приобретение и монтаж считывателя осуществляется непосредственно заказчиком (инсталлятором).
При использовании в системах контроля доступа PERCo передача данных от встроенного считывателя картоприемника в контроллер PERCo осуществляется по интерфейсу RS-485. Возможность работы с картоприемником поддерживается контроллерами PERCo-CT/L04.2 и встроенными контроллерами электронных проходных PERCo-CT03, PERCo-CT03.2.
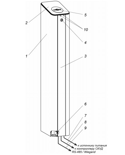
Конструкция картоприемника PERCo-IC05
- Корпус;
- Крышка;
- Контейнер;
- Замок крышки контейнера;
- Щель для приема временных карт посетителей;
- Основание картоприемника;
- Кабель питания картоприемника (не входит в стандартный комплект поставки);
- Кабель подключения к контроллеру (не входит в стандартный комплект поставки);
- Кабель подключения считывателя картоприемника (не входит в стандартный комплект поставки);
- Винты крепления крышки (находятся под контейнером).
Купить PERCo-IC05 в интернет-магазине СЕК-ГРУПП в Москве: Черницынский проезд, д.3, стр.1 (метро Щелковская). Доставка по России.

Напряжение питания постоянного тока
Потребляемый ток
Потребляемая мощность
Емкость контейнера для приема карт
Интерфейс связи считывателя с контроллером
Средняя наработка на отказ
Класс защиты от поражения электрическим током
Степень защиты оболочки
Габаритные размеры
Масса
До ТК (СДЭК, ПЭК, Деловые Линии) - 0 Р
Остальные транспортные компании - 1000 Р
Заказы от 60 000 Р (по ценам сайта) - 0 Р
В пределах МКАД заказы стоимость > 5 000 руб. и < 2 кг - 750 руб., > 2 кг составляет 1000 руб.
Негабарит МКАД - 1300 Р (более 5 метров - 2000 Р)
За МКАД - 1000 Р + 90Р/км
Негабарит за МКАД - 1300Р + 110Р/км (более 5 метров - 2000 Р + 110Р/км)
г. Москва, Черницынский пр-д, д. 3 стр. 1. метро Щелковская
г. Уфа, ул. Трамвайная, д. 2 оф. 1-02
Мы правильно определили ваш город?
Оплата осуществляется путем банковского перевода денежных средств с расчетного счета покупателя на наш расчетный счет.
Счет выставляется по запросу в печатном или электронном виде. Счет действителен в течении 3-х банковских дней за исключением оборудования производства компании PERCo.
Оплата наличными производится в офисах компании при получении товара со склада по адресам:
- г. Москва, Черницынский проезд, д.3, стр.3
- г. Уфа, Трамвайная улица, д.2, офис 1-02
Стоимость заказа передаётся водителю компании при получении товара.
















